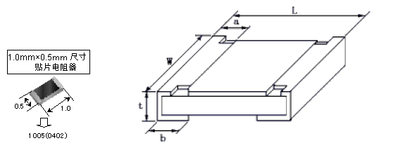
贴片电阻常见封装有9种,用两种尺寸代码来表示。一种尺寸代码是由4位数字表示的EIA(美国电子工业协会)代码,前两位与后两位分别表示电阻的长与宽,以英寸为单位。我们常说的0603封装就是指英制代码。另一种是米制代码,也由4位数字表示,其单位为毫米。下表列出贴片电阻封装英制和公制的关系及详细的尺寸:

英制 (inch) | 公制 (mm) | 长(L) (mm) | 宽(W) (mm) | 高(t) (mm) | a (mm) | b (mm) |
0201 | 0603 | 0.60±0.05 | 0.30±0.05 | 0.23±0.05 | 0.10±0.05 | 0.15±0.05 |
0402 | 1005 | 1.00±0.10 | 0.50±0.10 | 0.30±0.10 | 0.20±0.10 | 0.25±0.10 |
0603 | 1608 | 1.60±0.15 | 0.80±0.15 | 0.40±0.10 | 0.30±0.20 | 0.30±0.20 |
0805 | 2012 | 2.00±0.20 | 1.25±0.15 | 0.50±0.10 | 0.40±0.20 | 0.40±0.20 |
1206 | 3216 | 3.20±0.20 | 1.60±0.15 | 0.55±0.10 | 0.50±0.20 | 0.50±0.20 |
1210 | 3225 | 3.20±0.20 | 2.50±0.20 | 0.55±0.10 | 0.50±0.20 | 0.50±0.20 |
1812 | 4832 | 4.50±0.20 | 3.20±0.20 | 0.55±0.10 | 0.50±0.20 | 0.50±0.20 |
2010 | 5025 | 5.00±0.20 | 2.50±0.20 | 0.55±0.10 | 0.60±0.20 | 0.60±0.20 |
2512 | 6432 | 6.40±0.20 | 3.20±0.20 | 0.55±0.10 | 0.60±0.20 | 0.60±0.20 |
贴片电容和贴片电阻都是一样可以用的,0805,1206等
贴片电阻电容功率与尺寸对应表
电阻封装尺寸与功率关系,通常来说:
0201 1/20W
0402 1/16W
0603 1/10W
0805 1/8W
1206 1/4W
电容电阻外形尺寸与封装的对应关系是:
0402=1.0x0.5
0603=1.6x0.8
0805=2.0x1.2
1206=3.2x1.6
1210=3.2x2.5
1812=4.5x3.2
2225=5.6x6.5
常规的贴片电阻的标准封装及额定功率如下表:
英制(mil) 公制(mm) 额定功率(W)@ 70°C
0201 0603 1/20
0402 1005 1/16
0603 1608 1/10
0805 2012 1/8
1206 3216 1/4
1210 3225 1/3
1812 4832 1/2
2010 5025 3/4
2512 6432 1
国内贴片电阻的命名方法:
1、5%精度的命名:RS-05K102JT
2、1%精度的命名:RS-05K1002FT
R -表示电阻
S -表示功率0402是1/16W、0603是1/10W、0805是1/8W、1206是1/4W、 1210是1/3W、1812是1/2W、2010是3/4W、2512是1W。
05 -表示尺寸(英寸):02表示0402、03表示0603、05表示0805、06表示1206、1210表示1210、1812表示1812、10表示1210、12表示2512。
K -表示温度系数为100PPM,
102-5%精度阻值表示法:前两位表示有效数字,第三位表示有多少个零,基本单位是Ω,102=1000Ω=1KΩ。
1002—1%精度阻值表示法:前三位表示有效数字,第四位表示有多少个零,基本单位是Ω,1002=10000Ω=10KΩ。
J -表示精度为5%、F-表示精度为1%。
T -表示编带包装
1: 0402(1/16W
2: 0603(1/10W)
3: 0805(1/8W)
4: 1206(1/4W)
5: 1210(1/3W)
6: 2010(1/2W)
7: 2512(1W)
贴片电阻各参数说明
1、贴片电阻的阻值表示与贴片电容容值表示都是数字与“R”组合表示的。譬如:3ohm用3R0表示,10ohm用100表示,100ohm用101表示,也就是说“R”表示点“.”的意思,而101后面个位数的“1”表示的是带有1个0,例如102表示10000。
2、电阻上的数字和字母表示的就是阻值,R002就表示0.002ohm,180表示的就是18ohm.
3、怎样区分贴片的电阻与电容,由于电阻上面有白色的字体表示,所以除端角外背景颜色应该是黑色的,而电容上就没有字体表示,也不会有黑色的颜色,因为有黑色的话容易让人产生误会电容被氧化。读出四块数据,乘给出数据相加。
贴片电阻的命名
贴片电阻阻值误差精度有±1%、±2%、±5%、±10%精度,常规用的最多的是±1%和±5%,±5%精度的常规是用三位数来表示例 例512,前面两位是有效数字,第三位数2表示有多少个零,基本单位是Ω,这样就是5100欧,1000Ω=1KΩ,1000000Ω=1MΩ 为了区分±5%,±1%的电阻,于是±1%的电阻常规多数用4位数来表示,这样前三位是表示有效数字,第四位表示有多少个零4531也就是4530Ω,也就等于4.53KΩ